
家庭教師 小学4〜6年 中学生 高校 コーナー お問合せ トップ |
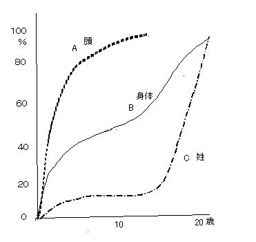
勘違い 「小さいころはのびのび遊ばせて、もっと大きくなってから勉強させればよい」 半分賛成ですが、半分反対です。 「のびのび遊ばせる」は 賛成です。 しかし、「もっと大きくなってから勉強・・・・」は賛成しかねます。 なぜ? @ この年代は文句を言いつつも親の指示に従うからです。 4年生以降になると親の 言うことには従いません。 勉強しなさい と言っても 従いません。 A この年代のとき いろいろな事柄に最も 興味を持つからです。 「これなぁに なぁに」 とか 「なんで なんで」 いろいろ興味を持ちませんか そうなんです。 勉強したい気持ちが大きいのです。 このころの勉強は 遊びのうちなのです。 B 大脳生理学的に4,5歳で脳の重さが成人の90%以上に成長してしまっているからです。 「三つ子の魂百まで」は このことからもあたっているのです。 お箸の持ち方 鉛筆の持ち方 ものごとの考え方 しゃべり方 さまざまな個人の特質が形成される時期と考えられませんか ? 下の資料は、20歳までの成長曲線です。 B身体の成長より A頭の成長のほうが先だということが わかっています。 前頭前野 脳の一部です。 創造力 / 思考力 /記憶と学習 / 人と人とのコミュニケーション / 行動や感情をコントロール / 集中力 を司ります。 (東北大学の川島教授の講演会でのお話です。) どうですか? これらは 一人の幼い子が将来生きていくために必要なことばかりですね。 これが前頭前野のはたらきです。 そうして、4 ,5歳で成人の90 %以上にまで出来上がってしまうのです。 この時期の 我が子に対する接し方がいかに大切か!! 創造力 / 思考力 /記憶と学習 は、わかりやすいですが、 人と人とのコミュニケーション / 行動や感情をコントロールは どういうことなのでしょう。 川島先生は 次のように述べておられます。 言葉のコミュニケーション 言葉以外のコミュニケーション(声の調子や顔の表情、ジェスチャーなど) / クラスの中で大声を出したり 突然切れたり これが行動や感情のコントロール 子の親として いっしょに本を読みましょう 読んであげましょう。 大切な親子のコミュニケーションです。 考えることの大切さ おもしろさを この時期に体験させてあげましょう。 算数の基礎 数に対する興味づけや 国語の基礎 文字に対する興味を高めることができます。 国語力は、今後のすべての教科の学習の基礎になります。 |